
電站用13型或I型焊接式錐形套管簡介
電站用13型或I型焊接式錐形套管是由不銹鋼或其它材料的圓棒整體鉆孔而成,預先焊接安裝在不便拆卸的管道或其它裝置上,不僅能起到抵御測量介質的壓力、流速和腐蝕作用,還可以保護測溫元件和在線式更換測溫元件。一般和上海自動化儀表三廠熱電偶、熱電阻、雙金屬溫度計配套使用在空氣、液體、蒸汽等介質中。
電站用13型或I型焊接式錐形套管主要技術參數
◆耐溫范圍:0-550-600℃
◆套管形式:錐形整體鉆孔式
◆套管材質:不銹鋼304,321,316等
◆套管耐壓:小于或等于30MPa
◆套管耐流速:小于或等于100米每秒
◆適用范圍:適用于熱電偶、熱電阻、雙金屬溫度計
◆安裝方式:焊接式
焊接式錐形套管安裝圖片
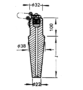
◆電站用13型或I型焊接式錐形套管
l=50-350mm
錐形套管上端Φ38下端Φ22mm
焊接式錐形套管



客服1